logo Nut for cylinder end-cap



foto


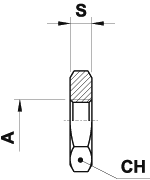
Nut for cylinder end-cap



part numberfor boreACHS
GPM01010M12x1.25197
GPM12-1612-16M16x1.5226
GPM20-2520-25M22x1.5278


pdf

previous page